SPR
Timber Joist Hanger Slope Adjustable
The SPR connector supports rafters from other timber members and can be sloped up or down by up to 45 degress.
- Slope angle can be adjusted on-site.
- Adjustable between 0 and 45 degree, up and down.
- supports a range of timber heights from 145mm to 250mm.
CE Marking
ETA
Service class 2
Electrogalvanized steel 20 µm
EPD
Product Details
Features
Material
- Galvanized steel S250GD + Z275 according to NF EN 10346.
Benefits
- SPR with width from 38 to 140 mm and height from 100 to 400 mm can be made on special order and are covered by the CE MARKING.
Application
For Connecting
- Supporting member: solid wood, composite lumber, glued-laminated wood, concrete, steel.
- Supported member: solid wood, composite lumber, glued-laminated wood.
Applications
- Joists,
- Purlins,
- Smooth beams...
Discontinued Products
Variant Status Details
There are variants of this product family which have been discontinued and are out of production.
phased out (has Variants which were phased out)Technical Data
Product dimensions
| References | NOBB nr. | DB nr. | Joist dimensions [mm] | Product dimensions [mm] | Header holes | Joist holes | Box Quantity | Weight [kg] | ||||||||
|---|---|---|---|---|---|---|---|---|---|---|---|---|---|---|---|---|
| Width | Height | A | B | C | D | F | t | Ø5 | Ø5 | |||||||
| Min. | Max. | Min. | Max. | |||||||||||||
| SPRxx | - | - | - | - | - | - | - | - | - | - | - | - | - | - | - | - |
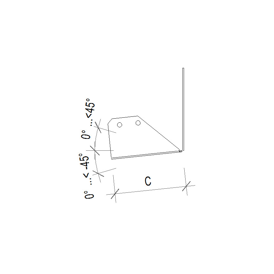
The lower heel of the joist hanger must be bent only once along the desired angle α.
The height of joist is dependet on the slope.
Product characteristic capacities - Timber beam to timber beam
| References | Fasteners | Product characteristic capacities - Timber C24 [kN] | Safe working loads - timber C24 [kN] | ||||||||||||
|---|---|---|---|---|---|---|---|---|---|---|---|---|---|---|---|
| Header | Joist | R1.k | R2.k | R1,SWL,Long term | R1,SWL,Medium Term | R2,SWL,Short term | |||||||||
| Qty | Qty | N3.75x30 | CNA4,0x35 | CNA4,0x40 | CNA4,0x50 | CNA4,0x60 | N3.75x30 | CNA4,0x35 | CNA4,0x40 | CNA4,0x50 | CNA4,0x60 | N3.75x30 | N3.75x30 | N3.75x30 | |
| SPRxx | - | - | - | - | - | - | - | - | - | - | - | - | - | - | - |
number in ( ) are the number of square twist nails N3,75x30
Installation
Installation
Fasteners
On supported member:
- Square twist nails N3,75x30
On supporting member:
Wood substrate:
- Square twist nails N3,75x30
Installation
- Use all specified fasteners.
- Bend only once.
- To ensure proper seat installation, install the bottom nails prior to the side nails.
- Attach the sloped joist at both ends so that the horizontal force developed by the slope is fully supported by the carried members.
Certification
Declaration of Performance (DoP)
uk-dop-e08-0053-04-s.pdf
(218.82 KB)
uk-dop-e08-0053-issue-3.pdf
(41.63 KB)
uk-dop-e08-0053-issue-2.pdf
(31.77 KB)
5e6f500bc44715caf0af78e8e611f6628f3d9db7.pdf
(31.68 KB)
European Technical Assessment (ETA)
eta-08-0053-2025-05-01.pdf
(2.45 MB)
eta-08-0053-2017-09-22.pdf
(1.35 MB)
eta-080053-issue-3.pdf
(1.47 MB)