C1 - C5

Bulldog®-sided C1-C3-C5

Anchor blade, which is used to join two pieces of timber with pin.

CE Marking
Service class 3
Outdoor
Galvanised steel
EPD

Product Details

Features

Material

• DC01 (DX51D)
 

Benefits

• When connected using pins and dowels do not come into contact two bonded materials.

Application

Applicatons

wood

Scope

• Wood / Wood

Technical Data

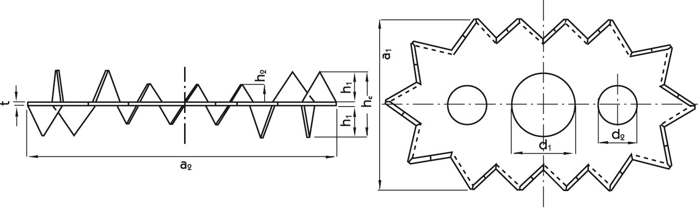
Dimensions

Dimensions - Round double sided C1

References Type Tun / DB nr. NOB nr. Connector dimensions [mm] Box Quantity
Diameter Height Thickness
External Center hole Teeth Total t
dc d1 h1 hc
C1-50C158045534391060650176131200
C1-62-BC158045544391061462217.4161.2100
C1-75-BC15804555NOB17975269.119.51.3100
C1-50G-BC182714052479393750176131200
C1-62G-BC182714132479395262217.4161.2100
C1-75G-BC182714212479396075269.119.51.3100
C1-95G-BC1827143924793978953311.3241.440
C1-117G-BC18977548247939941174814.3301.525

Dimensions - Oval double sided C3

References Type Tun / DB nr. NOB nr. Connector dimensions [mm] Box Quantity
Diameter Height Thickness a1 [mm] a2 [mm]
Center hole Side holes Teeth Total t
d1 d2 h1 hc
C3-73/130G-BC3897757124794018261613.3281.57313050

Dimensions - Square double sided C5

References Type Tun / DB nr. NOB nr. Connector dimensions [mm] Box Quantity
Diameter Height Thickness
External Center hole Teeth Total t
dc d1 h1 hc
C5-100G-BC5897755524793986100407.3161.450
C5-130G-BC5897756324794000130529.3201.525

Minimum distances and characteristic values

References Type Chosen timber thickness   Characteristic shear resistance (bolt resistance not included)
t1 [mm] t2 [mm] Min. distances Rv.k [kN]
Spacing parallel to grain Spacing perpendicular to grain from loaded end from unloaded end from loaded edge from unloaded edge
a1 α=0° [mm] a2 [mm] a3.t [mm] a3.c α=90° [mm] a4.t α=90° [mm]  a4.c [mm]
C1-50C118307560757540306.3
C1-62-BC123379375939350388.7
C1-75-BC1284611390113113604511.6
C1-50G-BC118307560757540306.3
C1-62G-BC123379375939350388.7
C1-75G-BC1284611390113113604511.6
C1-95G-BC13457143114143143765716.6
C1-117G-BC14372176141176176947122.7
C3-73/130G-BC34067146117146146785917.1
C5-100G-BC52237150120150150806018
C5-130G-BC528471951561951951047826.6

The given characteristic shear resistance per connector Rv.k is calculated according to the minimum distances given in this table and for timber grade C24. This capacity can be increased with a higher timber grade (see k3 factor according to EN1995). This capacity can also be decreased with lower a3.t (see k2 factor according to EN1995). For lower t1 or t2, please refer to EN1995. The characteristic bolt shear resistance is not included and should be added. 

Installation

Installation

Installation

  • The installation is made while tightening the bolt, the teeth sink into the timber under the pressure of the bolt.
  • The bolt installation always requires two washers.

Certification

Declaration of Performance (DoP)

ZIP Packages

Buy from Distributor

No items available.

Contact

Simpson Strong-Tie Poland

Simpson Strong-Tie Etanco P.S.A.

ul. Karczunkowska 42
02-871 Warszawa
Poland